„Porsche“ vidaus degimo variklio detalė iš arti. Šaltinis: TechNaujienos / Shutterstock
„Porsche“ patentuoja naują vandenilio variklį: kaip tai gali pakeisti jūsų keliones?
TRUMPAI
- • „Porsche“ užpatentavo sistemą, leidžiančią variklio užvedimo metu naudoti iš vandens pagamintą vandenilį.
- • Technologija skirta sumažinti emisijas vienu taršiausių variklio veikimo momentų.
- • Vairuotojams tai gali reikšti švaresnes keliones neprarandant tradicinio variklio pojūčio.
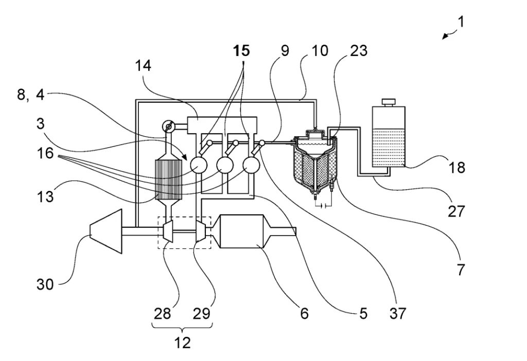
„Porsche“ pateikė naują patento paraišką technologijai, kuri leidžia vidaus degimo variklyje naudoti vandenilį. Paraiškoje, paviešintoje kovo 5 dieną, matyti, aprašyta sistema, kuri generuoja vandenilį iš vandens ir naudoja jį variklio veikimo pradžioje. Nors kol kas tai tik patentas, technologija rodo, kad automobilių gamintojai vis dar ieško būdų sumažinti taršą neprarandant tradicinių variklių privalumų vairuotojams.
Naujas „Porsche“ patentas
„Porsche AG“ dar 2024 metais Vokietijos patentų ir prekių ženklų biure (DPMA) pateikė vandenilio variklio paraišką (Nr. DE 102024124794.0).
Pagal patento aprašymą, sistema veiktų keliais etapais. Automobilyje esantis įrenginys galėtų iš vandens pagaminti vandenilį, kuris būtų naudojamas degimo procese variklio užvedimo metu.
Būtent šaltasis startas laikomas viena didžiausių vidaus degimo variklių problemų. Tuo momentu degimo procesas dar nėra optimalus, todėl emisijos būna didesnės nei įprasto darbo režimo metu.
Tuo tarpu vandenilis šioje situacijoje galėtų padėti sumažinti teršalų kiekį, nes jo degimo metu nesusidaro anglies dioksidas. Kai variklis pasiekia darbinę temperatūrą, sistema galėtų persijungti prie įprasto kuro.

Kodėl vandenilis vėl tampa aktualus
Vandenilis automobilių pramonėje nėra visiškai nauja idėja. Dar XIX amžiaus pradžioje buvo sukurti pirmieji vandeniliu varomi vidaus degimo varikliai. Pastaraisiais metais ši technologija vėl sulaukė dėmesio dėl siekio sumažinti transporto sektoriaus emisijas. Kitaip nei elektromobiliai, šie varikliai gali padėti išlaikyti tradicinį mechaninį veikimo principą.
Tačiau iššūkių taip pat netrūksta. Nors degant vandeniliui nesusidaro anglies dioksidas, gali susidaryti azoto oksidai, todėl inžinieriai ieško būdų optimizuoti degimo procesą.
TAIP PAT SKAITYKITE: „Toyota“ drebins rinką: Pristatytas bandomasis skystu vandeniliu varomas sportinis automobilis
Kodėl tai svarbu automobilių ateičiai
Automobilių pramonė šiuo metu ieško įvairių būdų mažinti transporto sektoriaus emisijas. Nors daug dėmesio skiriama elektromobiliams, kai kurie gamintojai taip pat tyrinėja alternatyvias technologijas, kurios leistų išlaikyti vidaus degimo variklius.
„Porsche“ patentas rodo vieną iš galimų krypčių – hibridinį sprendimą, kuriame derinamas tradicinis variklis ir vandenilio technologija. Toks modelis galėtų sumažinti emisijas, bet kartu išlaikyti sportiniams automobiliams svarbų mechaninį veikimo principą.

Tai reiškia, kad ateityje kelionės automobiliu gali tapti „švaresnės“ net ir naudojant vidaus degimo variklius. Jei tokia technologija pasiektų serijinę gamybą, vairuotojai galėtų važiuoti automobiliais, kurie išmeta mažiau teršalų užvedimo metu – būtent tada, kai tarša būna didžiausia.
Be to, tokie sprendimai gali leisti vairuotojams ilgiau naudotis tradiciniais automobiliais, neprarandant jų dinamikos ar nuvažiuojamo atstumo, kuris dažnai kelia klausimų elektromobilių pirkėjams. Kitaip tariant, tai gali padėti išlaikyti tradicinį vairavimo pojūtį, kuris svarbus sportinių automobilių gamintojams.
„Porsche“ pakankamai aktyviai tvirtina naujus patentus, o tarp jų yra ir daugiau eksperimentų su varikliais. Vienas jų yra Vokietijos sportinių automobilių gamintojo siekis kurti keičiamą elektrinį ir vidaus degimo variklį.
Kaip vertinate šį straipsnį?
Prenumeruokite mūsų „YouTube“ kanalą ir mėgaukitės įdomiais vaizdo reportažais apie mokslą ir technologijas.
Trumpai, aiškiai ir be triukšmo – gaukite svarbiausias technologijų ir mokslo naujienas pirmieji.
DIENOS SKAITOMIAUSI
3 ženklai, kurie išduoda apgaulingą el. laišką
2Mokslininkai paprašė DI sukurti biologinį ginklą – tai, ką gavo, sukėlė nerimą
3Pompėjoje DI atkūrė per Vezuvijaus katastrofą žuvusio vyro veidą: naujas požiūris į praeitį
4Visur jungiatės per „Google“ paskyrą? Štai kokie pavojai gali slypėti
5Eidamas 79-uosius metus mirė žmogaus DNR iššifruoti padėjęs J. Craigas Venteris
NAUJAUSI
Taip pat skaitykite
Atrinkome panašius straipsnius, kurie gali jums patikti.