„Tesla“ nuotr.
Naujas patentas: „Tesla“ automobiliuose — „Starlink“ internetas?
TRUMPAI
- • „Tesla“ pateikė patentą, numatantį „Starlink“ palydovinio ryšio integraciją automobiliuose.
- • Sprendimas galėtų užtikrinti interneto ryšį ir už mobiliojo tinklo ribų.
- • Patentas rodo technologinę kryptį, bet negarantuoja diegimo artimiausiu metu.
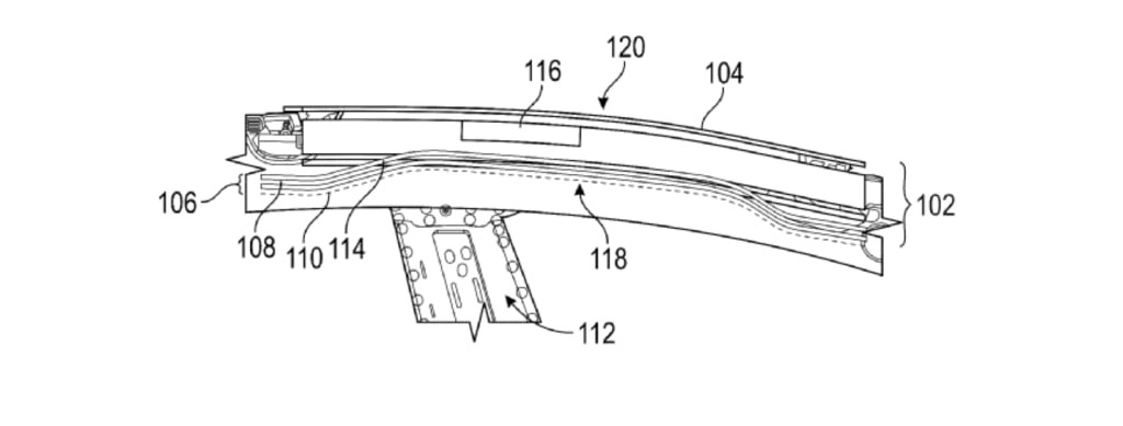
JAV elektromobilių gamintoja „Tesla“ pateikė patento paraišką (Pub. No U.S. 2025/0368267), kurioje aprašoma galimybė automobiliuose integruoti „Starlink“ palydovinio ryšio antenas. Apie tai 2025 m. gruodžio 17 d. pranešė technologijų naujienų portalas „Electrek“, remdamasis viešais patentų dokumentais. Šis sprendimas galėtų leisti automobiliams palaikyti interneto ryšį net ir vietovėse, kuriose nėra mobiliojo ryšio infrastruktūros.
Kas numatyta naujame „Tesla“ patento paraiškoje
Patentiniuose dokumentuose aprašomi techniniai sprendimai, leidžiantys palydovines antenas integruoti tiesiai į automobilio konstrukciją. Nurodoma, kad antenos galėtų būti montuojamos po kėbulo elementais ar kitose apsaugotose vietose, išlaikant automobilio dizainą ir aerodinamines savybes.

Taip pat akcentuojama galimybė užtikrinti stabilų ryšį judant, kas yra vienas sudėtingiausių palydovinio interneto technologijos aspektų. Integruotas sprendimas galėtų sumažinti ryšio trikdžius ir pagerinti duomenų perdavimo patikimumą, palyginti su išorinėmis ar neintegruotomis sistemomis.
Kodėl palydovinis ryšys automobiliuose įgauna reikšmę
Palydovinio interneto diegimas transporto priemonėse laikomas svarbiu žingsniu plečiant ryšio prieinamumą. Tokia technologija ypač aktuali atokiose vietovėse, kur mobiliojo ryšio aprėptis yra ribota arba visai neegzistuoja. Tai galėtų būti naudinga ne tik kasdienėms paslaugoms, bet ir saugumo sprendimams, įskaitant avarinius ryšio kanalus.
Nuolatinis ryšys taip pat svarbus modernioms transporto sistemoms, kurios remiasi programinės įrangos atnaujinimais, navigacijos duomenimis ir nuotoline diagnostika. Nors patente tiesiogiai neminimas autonominis vairavimas, tokio ryšio sprendimai galėtų būti pritaikomi įvairioms pažangioms automobilio funkcijoms.
Sąsajos su „Starlink“ ir galimi tolesni žingsniai
„Starlink“ palydovinį interneto tinklą vysto bendrovė „SpaceX“, kurią, kaip ir „Tesla“, valdo Elonas Muskas. Nors patentinės paraiškos pateikimas savaime nereiškia, kad technologija bus artimiausiu metu diegiama serijiniuose automobiliuose, ji leidžia įžvelgti bendrovės svarstomas technologines kryptis.
Ekspertai pažymi, kad patentai dažnai naudojami idėjoms apsaugoti ir nebūtinai virsta galutiniais produktais. Vis dėlto, jei toks sprendimas būtų įgyvendintas, jis galėtų tapti reikšmingu žingsniu plečiant automobilių ryšio galimybes ir stiprinant skaitmeninių paslaugų integraciją transporto sektoriuje.
Tuo tarpu JAV astronautikos bendrovės „SpaceX“ projekto „Starlink“ laukia reikšmingi pokyčiai. E. Muskas neseniai skelbė, kad netolimoje ateityje projekto jau laukia ir trečios kartos palydovai (V3). Tikimasi, kad jų gamyba įsibėgės per 2026 metų pirmąjį pusmetį.
Remiantis 2025 metų liepos duomenimis, „SpaceX“ turi 2,7 mln. aktyvių klientų.
Kaip vertinate šį straipsnį?
Prenumeruokite mūsų „YouTube“ kanalą ir mėgaukitės įdomiais vaizdo reportažais apie mokslą ir technologijas.
Trumpai, aiškiai ir be triukšmo – gaukite svarbiausias technologijų ir mokslo naujienas pirmieji.
DIENOS SKAITOMIAUSI
Tyrimas atskleidė, kada vyrų širdies smūgio rizika ima sparčiai didėti – ką būtina žinoti?
2COVID-19 pasekmės: mokslas fiksuoja smegenų pokyčius – štai ką nustatė
3Mokslininkai rado būdą sustabdyti sąnarių dėvėjimąsi – kremzlė gali ataugti be kamieninių ląstelių
4Šie 4 rizikos veiksniai lemia 99 proc. širdies priepuolių ir insultų, teigia mokslininkai
5„YouTube“ apribos nemokamą versiją: nebegalėsite naudotis šia funkcija
NAUJAUSI
Taip pat skaitykite
Atrinkome panašius straipsnius, kurie gali jums patikti.